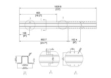
Use our 7' Forever Galvanized Steel Posts in place of regular wood posts to add longevity, durability and strength to your fence. These posts were made specifically to be concealed to maintain your fence's beauty.
- 11-gauge
- Galvanized steel
- Saves money; no need for brackets
- Resistant to warping and cracking
- Easy installation
SECOND PICTURE IS FOR A 6' FOREVER POST, OTHER DIMENSIONS LISTED ARE STILL THE SAME.